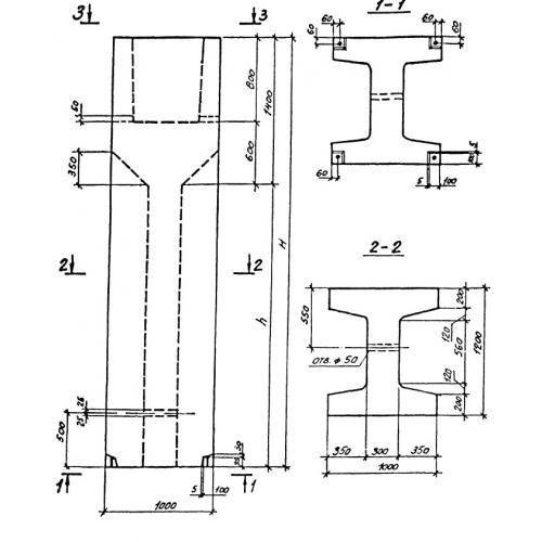
ВБ 10.12.30

Чертеж изделия:
Характеристики изделия:
ПараметрЗначение
длина1000 мм
ширина1200 мм
высота2990 мм
вес6470 кг
серия0-221-84

ВБ 10.12.30 Блоки-стаканы верхние по серии 0-221-84.