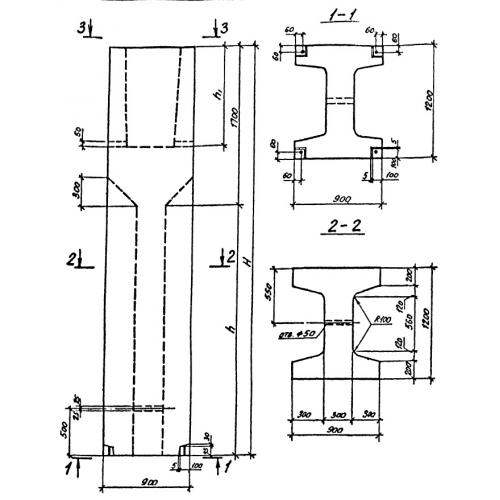
ВБ 9.12.36

Чертеж изделия:
Характеристики изделия:
ПараметрЗначение
длина900 мм
ширина1200 мм
высота3590 мм
вес7150 кг
серия0-221-84

ВБ 9.12.36 Блоки-стаканы верхние по серии 0-221-84.