1КВО 36.00-3.32.00

Чертеж изделия:
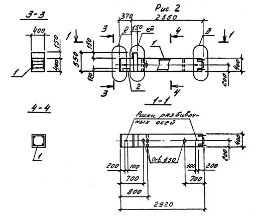
Характеристики изделия:
ПараметрЗначение
длина2920 мм
ширина400 мм
высота550 мм
масса1200 кг
нормативный документСерия 1.020.1-4

1КВО 36.00-3.32.00    Колонны одноконсольные для верхних этажей (Серия 1.020.1-4).