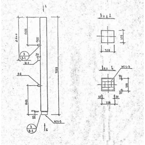
С 7-35

Чертеж изделия:
Характеристики изделия:
ПараметрЗначение
длина7000 мм
ширина350 мм
высота350 мм
вес2150 кг
серия1.111 КЛ-2

С 7-35 Свая составная квадратного сечения по серии 1.111 КЛ-2.