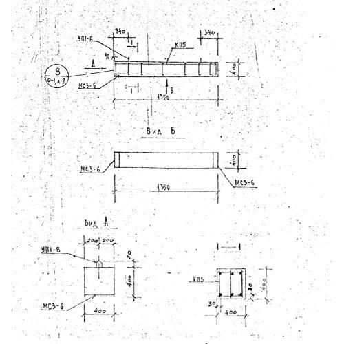
Б 14

Чертеж изделия:
Характеристики изделия:
ПараметрЗначение
длина1350 мм
ширина400 мм
высота400 мм
вес550 кг
серия1.125 КЛ-3

Б 14 Балки по серии 1.125 КЛ-3.