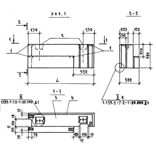
4БНУ 10.6.50
Характеристики изделия:
| Параметр | Значение |
|---|---|
| длина | 990 мм |
| ширина | 500 мм |
| высота | 580 мм |
| вес | 280 кг |
| серия | 1.133.1-7 |
Цена:
Рассчитать стоимость4БНУ 10.6.50 Блоки поясные угловые по серии 1.133.1-7.
| Параметр | Значение |
|---|---|
| длина | 990 мм |
| ширина | 500 мм |
| высота | 580 мм |
| вес | 280 кг |
| серия | 1.133.1-7 |
4БНУ 10.6.50 Блоки поясные угловые по серии 1.133.1-7.
