ПТ 30-15 ст

Чертеж изделия:
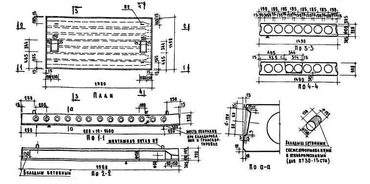
Характеристики изделия:
ПараметрЗначение
Длина2980 мм
Ширина1490 мм
Высота220 мм
Масса1415 кг
Нормативный документСерия 1.141-8

Стандарт изготовления изделия: Серия 1.141-8

Плита перекрытия с круглыми пустотами ПТ 30-15 ст (1.141-8) является универсальной железобетонной конструкцией индустриального строительства. Форма изделия представлена прямоугольной, а вдоль тела проходят внутренние отверстия, облегчающие вес элемента и улучшающие показатели тепло- и звукоизоляции. Благодаря предварительно напряженному стальному каркасу плита обладает особой прочностью и «эластичностью», что является основными преимуществами данного изделия. Согласно регламенту изготовления Серии 1.141-8, ПТ 30-15 ст (1.141-8) предназначена для создания перекрытия на стыке этажей в санитарно-технических узлах.

Маркировка

1. ПТ - панель многопустотная;

2. 30 - длина в дм;

3. 15 - ширина в дм;

4. с - сантехническая;

5. т - под тяжелую нагрузку.