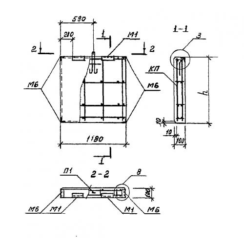
ПС 12.18.1

Чертеж изделия:
Характеристики изделия:
ПараметрЗначение
длина1180 мм
ширина100 мм
высота1785 мм
вес530 кг
серия1.432.1-34.94

ПС 12.18.1 Панели стеновые по серии 1.432.1-34.94.