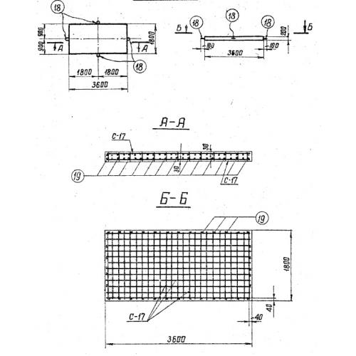
ПП 1 Подкладная плита

Чертеж изделия:
Характеристики изделия:
ПараметрЗначение
длина3600 мм
ширина1800 мм
высота200 мм
масса3250 кг
нормативный  документСерия 3.407-115

ПП 1 Плиты подкладные Серия 3.407-115.