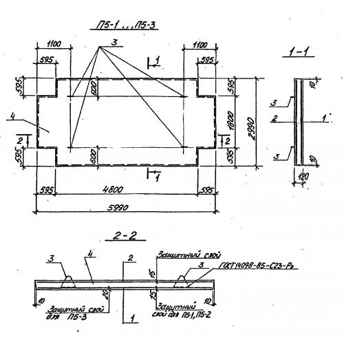
П 5

Чертеж изделия:
Характеристики изделия:
ПараметрЗначение
длина5990 мм
ширина2990 мм
высота120 мм
масса4950 кг
нормативный документСерия У 01-02/89

П 5 Плиты по Серии У 01-02/89.